Two weeks ago, Engadget / CrunchGear posted videos of RAPUDA (Robotic Arm for Persons with Upper limb DisAbilities) from AIST's Intelligent Systems Research Institute -- a wheelchair-mounted, light-weight robot arm with a prominent telescoping link that was demonstrated grasping a cup from a table, lifting the cup for drinking, and grasping an object from the floor via teleoperation (video embedded below).  Given my proclivity for clever mechanisms, I wanted details about the telescoping link, specifically to determine how it compares to the Geosystems Situational Awareness Mast (aka Zippermast).  Well, I found what I was looking for: a Japanese patent application for "Linearly Moving Extendable Mechanism and Robot Arm Equipped with Linearly Moving Extendable Mechanism."  Basically, the telescoping segment consists of a series of small interlocking modules that are expelled (or reeled-in) through the "shoulder" link.  Check out the pictures -- cool stuff!

The video embedded below is rather long (5 minutes), but a quick glance at these scenes tells the whole story:

 Grasping a Cup from Table

 Lifting a Cup for Drinking

 Grasping Object from Floor

Telescoping Robot Arm mounted on Wheelchair Grasps Cup from Table Telescoping Robot Arm mounted on Wheelchair Lifting a Cup for a Drink Telescoping Robot Arm mounted on Wheelchair Grasping Object on Floor
Telescoping Robot Arm mounted on Wheelchair Grasps Cup from Table Telescoping Robot Arm mounted on Wheelchair Lifting a Cup for a Drink Telescoping Robot Arm mounted on Wheelchair Grasping Object on Floor
Telescoping Robot Arm mounted on Wheelchair Grasps Cup from Table Telescoping Robot Arm mounted on Wheelchair Lifting a Cup for a Drink Telescoping Robot Arm mounted on Wheelchair Grasping Object on Floor
Telescoping Robot Arm mounted on Wheelchair Grasps Cup from Table Telescoping Robot Arm mounted on Wheelchair Lifting a Cup for a Drink Telescoping Robot Arm mounted on Wheelchair Grasping Object on Floor

 

 

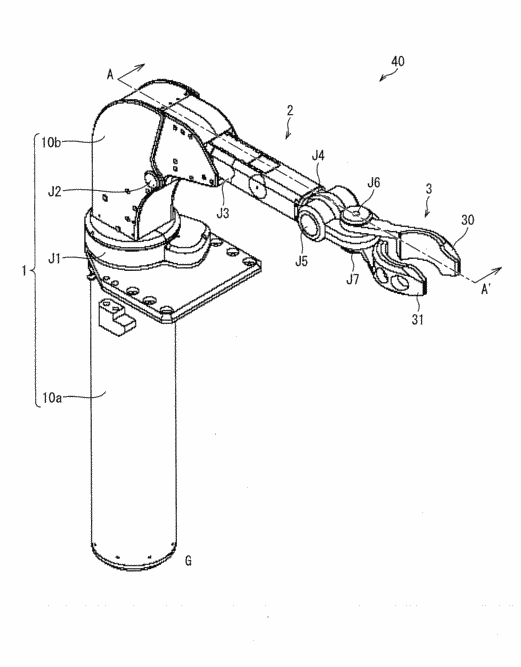
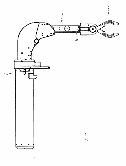
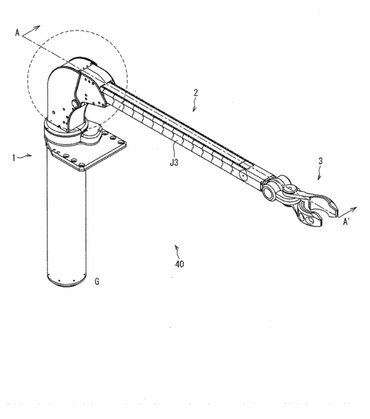
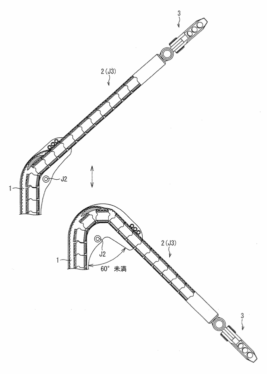
Images from the Japanese patent application are quite telling: 

Telescoping Robot Arm  Telescoping Robot Arm  Telescoping Robot Arm

Telescoping Robot Arm Telescoping Robot Arm

Telescoping Robot Arm  Telescoping Robot Arm Telescoping Robot Arm

Telescoping Robot Arm 

 

I like the mechanism's concept, but I'm less enthusiastic about the large storage cylinder for the segments -- that's the beauty of the Zippermast solution: it "rolls up" like a tape measure inside the base, allowing for extreme telescoping (8 in. profile to 8 ft. extension). A side-by-side of the systems is shown below with RAPUDA (left) and Zippermast (right):

RAPUDA telescoping robot arm  Zippermast Telescoping Mechanism