The Situational Awareness Mast (SAM, also known as a Zipper Mast) from Geosystems Inc. is a telescoping linear actuator that has a unique property -- it's stroke length is an order of magnitude greater than its nominal height! For example, the SAM8 is a 10 lb device with a stroke length (8ft) that is 24 times it's nominal height (4 inches)! This can be used to vertically translate a robot's sensor suite for better visibility while still allowing for a low profile. Read on for information on the different Zipper Mast variants, the patent describing the system, and an exclusive video of a Zipper Mast on an iRobot Packbot!
First, take a look at the Zipper Mast on the Packbot. Notice how the low-profile device can vertically extend to peek a camera over a large wall.
Perhaps the video, provided by Martin Buehler of iRobot, is more telling.
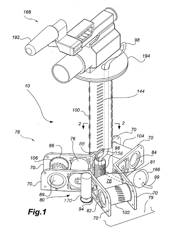
This is an amazingly device, so let's examine how it works. The patent is quite illuminating.
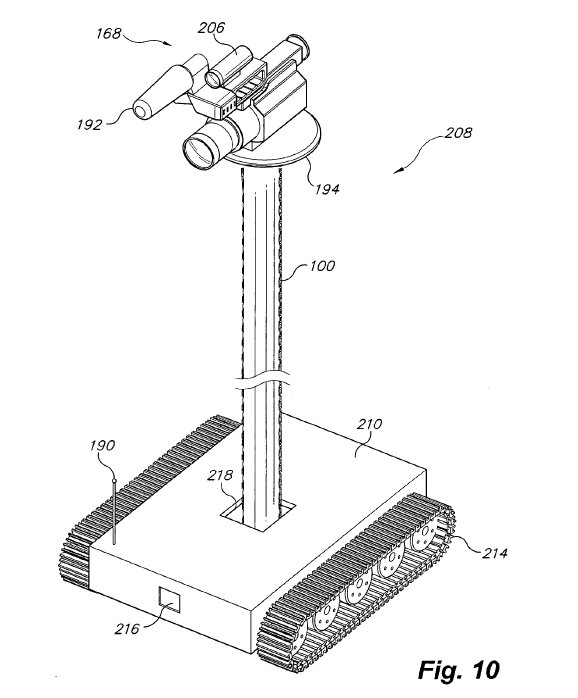
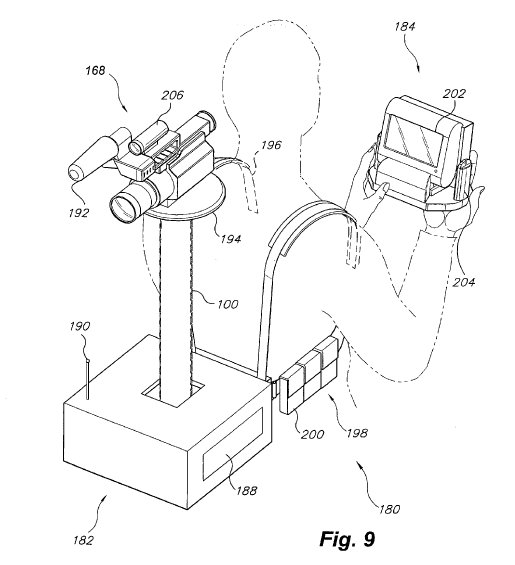
The basic idea is to use three "coiled metal" strips (like those from a tape measure), driven by a few motors, that stitch / zip together to produce a statically-stable vertical lift -- simple and elegant! The idea of a robot using the device is explicit in the patent, as is a backpack-mounted version for soldiers. Of course, we've already seen the Packbot using a Zippermast, but another inspection robot, the ODIS robot, has also been equipped with a Zippermast (pictured below left).
So far, I've only shown small(er) versions of the Zippermast, but GeoSystems Inc also produces larger versions.
![]() |
SAM Handheld
|
|
SAM 8
|
|
SAM 10
|
|
SAM 12/15
|
|
SAM 20
|
I know that the SAM10 runs about $11k, but I do not know the cost of the other units. I would certainly be curious to know the cost of the others (especially the smaller ones). I'm also curious about the position control precision / accuracy of each unit.

Comments (4)
Its amazing how simple things work together in complex ways....How noisy is it, I wonder. That would affect its stealthyness directly I guess.
oh yes, really nice idea. at first i thought this one uses pre-built zipper parts and just stacks them together.. but in reality it seems to entangle three flat metal(?) stripes to form a rigid 3d-structure.
still i wonder how stable it is in case of bad weather or on uneven arched ground.
the noise doesnt seem to be a problem however - the mobot itself is much more loudly telling its presence ;)
on some other scale it also seems like a good idea to build and shield tunnels in one go with this method.
Nice concept.
In the old days the firefighters in Copenhagen (Denmark) used to have some units like this to mount light throwers on.
I don't know if they still use them.